【任天堂新专利公开,涉及“Switch Online试玩计划”】
任天堂近日又公布了一项与“Switch Online试玩计划”相关的新专利。据“Nintendo Patents Watch”消息,该专利最早于去年4月在日本提交,并于2025年4月在美国申请,本周正式在美公开。该专利描述了一种系统,玩家可通过在虚拟空间中“行走”来直观地选择多个物体。
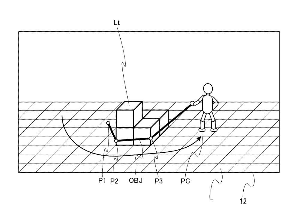
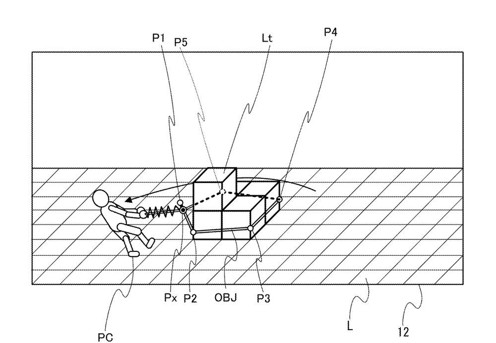
专利摘要显示,这似乎是一项的“基于角色移动的空间选择机制”,属于交互式输入创新,玩家角色可根据操作在三维虚拟空间中移动;系统会根据第二项操作输入设定参考点,并生成连接该点与玩家角色的“第一对象”,其形状会随角色移动而变化。当另一对象被该形状包围时,该对象将被指定为进一步游戏处理的目标。
据报道,任天堂社长古川俊太郎今年早些时候曾提到,该试玩计划“与NSO服务的新功能相关”,但并未透露细节,仅表示公司计划利用本项目获得的成果与经验用于未来的在线服务。
尽管首轮试玩的部分细节曾泄露,任天堂在第二轮试玩中仍维持相同要求,禁止参与者向外界讨论或披露任何相关内容。




