游戏百科

娃哈哈变天!宗馥莉辞职,这次真危险了?

01大家好,我是公子。昨晚(10月10号)刷到宗馥莉辞职的新闻,给我吓一大跳。不是刚澄清宗馥莉没被带走,正常上班吗,怎么

01

大家好,我是公子。

昨晚(10月10号)刷到宗馥莉辞职的新闻,给我吓一大跳。

不是刚澄清宗馥莉没被带走,正常上班吗,怎么这么快就辞职了?!

而且,虽然宗馥莉辞职过,但第一次辞职是公司长老对她不服。宗馥莉以退为进,用辞职引起大家关注,只用了7天就完成了“熹妃回宫”。

但这次,性质更严重!

上个月12号她就递交了辞呈书,什么法人、董事、董事长,统统不干了。

娃哈哈也没过多挽留,同意她的辞职,大大方方地盖章确有此事。

不过,新的总经理当过宏胜的法务部部长,董事长职务暂时空缺着。

全网好奇,宗馥莉和娃哈哈是真分开了吗?

02

现在大伙儿都说,辞职是因为商标使用“不合规”,宗馥莉干脆搞自己的牌子“娃小宗”。

叔叔宗泽后更是捅刀说:“娃哈哈股份要都是宗馥莉的,她想干嘛就干嘛。但娃哈哈本质上是国家说了算,宗馥莉应该学会夹着尾巴做人。她要是把我的话听进去,就不会今天这样了,都是水军害了她!”

怎么说呢,宗泽后不是第一次对亲戚落井下石了。

但娃哈哈的股权确实是个大麻烦,有三大股东:杭州国资、宗家还有职工持股会。

宗馥莉用娃哈哈商标的,没法自个说了算。

商标也确实是娃哈哈最值钱的东西了,全球最著名的两家品牌评估公司,都估价900亿左右!

结果宗馥莉让宏胜做娃哈哈代工厂就算了,连娃哈哈300多件商标也想转入宏胜。

娃哈哈内部能答应吗?肯定不能啊,甚至抗议起了宗馥莉。

即便宗馥莉提高了娃哈哈全国饮料销售的净收入,打破了娃哈哈成立以来的增速纪录,但输在没有她爸的创始人光环,也不打温情牌安抚人心,总被股东诟病。

甚至股东的担忧不无道理,宏胜确实扎眼过头。

有人算过,2022年,国资控股的娃哈哈集团仅占整个“娃哈哈系”净利润的0.39%,净利润才1871万。

宗馥莉通过宏胜控制的体外利润呢?冲到了47亿!

1871万跟47亿,这251倍的利润差距,还不够说明问题吗?

所以,就算杭州发展经济偏向藏富于民,不跟企业争利,但看到今年宗家连续剧不断,又是分家产打小三,又是海外资产大曝光,官方也该有所举动。

10月2号,据媒体报道,官方立案调查了宗馥莉的得力干将严学峰,5号才把人放走,而且随时可以再次传唤。

考虑到严学峰不仅是宏胜的高层,还是杭州某公司的经理,而这家公司是娃哈哈饮用水有限公司的唯一经销商。此外,严雪峰还在跟娃哈哈有关的近190家企业中担任监事职务。

官方查他有没有损害国有资产,这就说明宗馥莉那一连串动作,已经被官方关注。

每一笔关联交易,每一个定价怎么定的,每一次利润背后,都可能是一场看不见硝烟的战斗。

03

不过,别看宗馥莉不管娃哈哈了,她还是娃哈哈第二大股东,还不到出局的地步。

甚至说她两手准备着。

第一是员工持股问题。

宗庆后在2018年买回员工股,但现在很多员工不认,工商信息中这部分股份也没有变更。

宗馥莉急得举报法院,希望赶紧这事办妥。

因为如果这事办妥,宗馥莉就成了娃哈哈最大股东,那宏胜对娃哈哈商标不就说用就用?

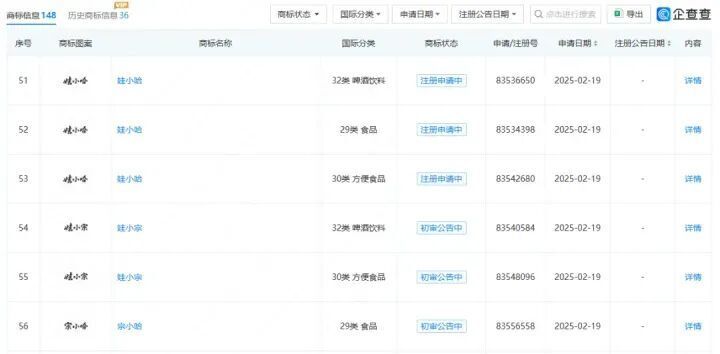
第二是另起炉灶,新品牌“娃小宗”。

早在今年2月,宏胜就注册了一系列商标,比如娃小宗、娃小哈等。

上个月也传出,宗馥莉要启动新品牌“娃小宗”,去替代40多年历史的“娃哈哈”。

现在辞职后,更是注册好了娃小宗的官方账号了。

而且,宏胜确实有另起炉灶的基础,19个生产基地,48家子公司,104条生产线。

宗馥莉定下目标,明年娃小宗销售额要到300亿!

但能不能实现,不好说。

没记错的话,宗馥莉之前推出的个人品牌KellyOne卖不出去,后来都成员工福利了。

现在娃小宗的首款产品“凝香乌龙无糖茶”,定价4块钱,能杀出重围吗?

更遭的是,外部,有经销商说,不会去做娃小宗,因为担心市场不接受。

内部,捅刀的叔叔宗泽后还有另一个大动作,给他自己的“娃小智”开启招商活动。

早不来晚不来,这时候招商,一看就是要对打宗馥莉的娃小宗。

宗馥莉现在四面楚歌,除了复刻娃哈哈的成功,还要应对官方的专班调查,叔叔的争夺市场,以及二房一家的虎视眈眈,毕竟香港法院早就驳回了她的信托资产解冻请求。

这么多条战线,消耗着宗馥莉的精力,宗馥莉接下来怎么重新当大女主?只能说,这场娃小宗的突围战,既是对宗馥莉个人的试炼,也是家族企业代际传承里的典例。

咱们作为吃瓜群众,没有宗馥莉这样的烦恼,在官方定性之前,当然是等下一集咯!