游戏百科

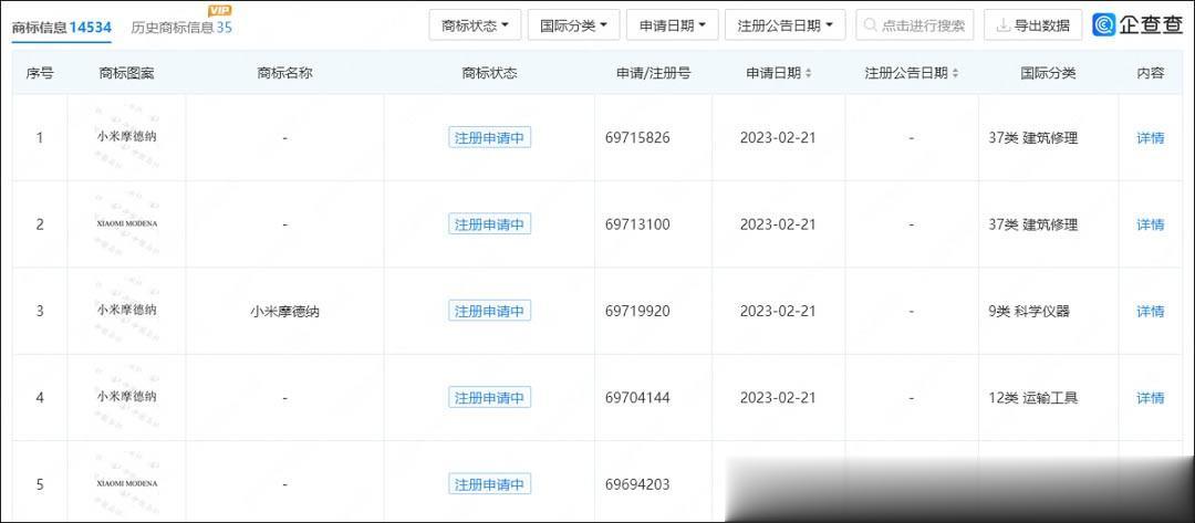
【小米新车命名曝光!或称摩德纳 第二款车型将于2025年发布】从最新爆料获悉,小

【小米新车命名曝光!或称摩德纳 第二款车型将于2025年发布】从最新爆料获悉,小米汽车已申请注册文字商标“小米摩德纳”、“MODENAT”、“XIAOMI MODENA”、“MIMODENA”等,而其或为小米首款车型命名。据了解,摩德纳是意大利传统工业城市,也是法拉利、玛莎拉蒂、帕加尼等超跑品牌总部,有着“超跑之乡”之称,因此业内猜测该命名很有用意,暗指首款车型或是主打性能的车型。同时,第二款车型内部代号为Lemans勒芒,将于2025年发布,或主打长续航。