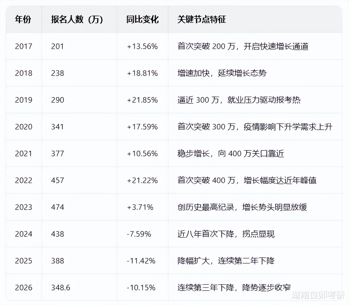
教育部2025年11月1日最新统计数据显示,2026年全国硕士研究生报名人数为348.6万,较2025年的388万减少39.4万,降幅达10.15%,首次跌破350万关口,这也是自2024年起连续第三年下降。
近五年考研报名数据分析
从这几年数据来看,考研报名人数已经连续几年下降,2023、2024、2025年考研报名人数分别为474万、438万、388万。
回顾近十五年走势:2010-2015年考研人数始终稳定在141-165万区间,年度波动不超10万;2015年起开启增长通道,2017年突破200万后进入快速攀升期,年均增幅超30万人,2023年达到474万的历史峰值。

就业压力升级导致“考研热”
近十年高校毕业生人数呈爆发式增长,从2017年的795万增至2025年1270万,几年间增长14.4倍,庞大的就业群体让市场竞争愈发激烈。叠加全球经济不确定性增加,部分企业招聘规模收缩,却对求职者学历和技能要求持续提高,促使大量学生选择读研缓解就业压力、提升竞争力。

推免比例增大,实考人数降低
近年来,各大院校不断提高推免招生比例,部分院校的推免率直逼50%。在招生名额固定不变的情况下,推免的名额越多,考研人的机会就越少,因此考研人将面临更大的竞争压力。反过来说,推免保研的人数将增加,考研人数可能下降,因为在考研的小伙伴中,有些人首先会直接选择推免保研上岸。
考公、出国读研人数增多
2026国考报名人数在持续飙升,根据网络数据2026年国考通过资格审查351万人,与上年相比上涨了26万。毕竟读完研后还是需要找工作,对于一些原本纠结考研还是考公的小伙伴来说,现在更倾向于考公。编制有稳定的工作和收入,而且相比于其他工作,福利和待遇也更加优厚。
从近十年趋势来看,考研已从“规模扩张”转向“质量优先”,从“学历内卷”转向“需求匹配”。2026年的降势并非考研热的终结,而是市场回归理性的必然,未来考生将更注重专业价值与职业规划的匹配,考研也将成为更具针对性的个人发展选择。
