
文末有双色球红球等差数13-16-19, 13-19-25的历史统计。【福彩双色球25126期开奖结果及统计】红球号和值87,蓝球10,7注一等奖,奖池28.47亿(2846957929)。
双色球25126期开奖结果及中奖情况:出奖时间: 2025-11-02 星期日 红球: 2-12-13-16-19-25蓝球: 10双色球红球重号叠码:12, 13红球隔期下落:2, 19红球奇偶比:3:3红球和值:87红球跨度:23 三区比:1:4:1连号: 12-13


双色球25126期一等奖: 7注二等奖: 100注本期全国销售金额:399441700 元 奖池滚存:2846957929 元.近15期奖池滚存, 中奖情况等信息:

双色球2025126期红号在过去是否出现过?双色球2025126期红号: 2-12-13-16-19-25经查,历史上没有出现过与这一期6个红球或者5个红球号码一样的。与这一期4个红号一样的有21期,如下:


相似号下一期的近10期统计:


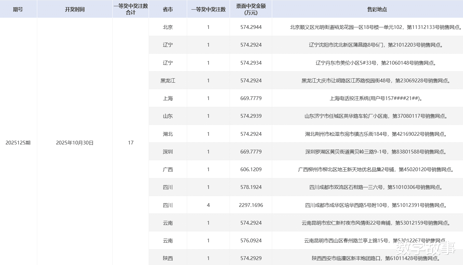
奖池滚存及一等奖数量:

统计近1500期蓝号10之后, 各蓝球的出现次数双色球25126期蓝号是10找出近1500期蓝球10号之后, 下一期出现的所有蓝号,统计其出现次数。,除开这一期,总共出现了80次10号球那么统计的样本数据是80个

=> 双色球近1500期蓝号10之后的冷热号蓝球热号:2,16,1,12,3蓝球冷号:6,13,14
双色球25126期开奖号码 VS 各冷热号
===> 双色球25126期四维度冷热号红球热号:26,31,24,10,23,18,28,19,9,3红球冷号:4,7,15,22,5,11,21,25,29蓝球热号:16,13,10,9,12蓝球冷号:6,4,14> 命中红球:19(热号) 25(冷号)> 命中蓝球:10(热号)===> 双色球近300期冷热号红球热号:17,2,8,6,22,10,3,7,9,20,25红球冷号:29,28,31,15,24,5,26,12,13,19蓝球热号:11,15,16,4,3蓝球冷号:9,12> 命中红球:2-25(热号) 12-13-19(冷号)===> 双色球近10期冷热号红球热号: 1,2,6,8,9,24,25,26,32红球冷号: 5,14,15,22,27蓝球热号: 9,10,13蓝球冷号: 1,2,4,5,6,12,14,15,16> 命中红球:2-25(热号)> 命中蓝球:10(热号)
博弈心理,挑战概率: 看近期开奖号码,也可看历史数据统计!【双色球25127期多角度冷热号】双色球25127期四维走势图,红蓝号统计及冷热号1) 历史同一天: 11月04日 (共8期)


2) 历史同一期: 每年127期 (共20期)


统计每年127期的样本数据:120个红球 20个蓝球

3) 追溯10期 每月04日:


4) 双色球最近20期:

=> 统计出现概率综合以上4个纬度的号码, 共58期根据出现的次数,分为热号,冷号,其他的为温号。统计样本数据:348个红球 58个蓝球

=> 双色球25127期四维度冷热号红球热号:19,3,9,4,2,32,31,25,20,18红球冷号:21,23,29,30,5,10,11,28,14蓝球热号:13,10,7,12蓝球冷号:5,2,4,6,15
双色球近100期红蓝号统计情况统计样本数据: 600个红球 100个蓝球

=> 双色球近100期冷热号红球热号:6,10,2,33,16,8,25,9,14,17红球冷号:29,27,32,1,12,22,28,11,4蓝球热号:16,11,5蓝球冷号:4,2,3,9
双色球近10期红蓝号统计情况统计样本数据: 60个红球 10个蓝球

=> 双色球近10期冷热号红球热号: 1,2,6,9,13,16,19,25,26,32红球冷号: 5,14,15,22,27蓝球热号: 10,13蓝球冷号: 1,2,4,5,6,12,14,15,16
多角度蓝球次数汇总

=> 汇总的蓝球冷热号:热号:16,10,1冷号:4,6,14,5,15
【其他历史数据查询统计】双色球历史上的今天2025-11-03 星期一 双色球不开奖每年11月03日出号情况:

奖池滚存&一等奖数 走势图:

双色球每年128期的出奖号


双色球红球含13-16-19历史统计



双色球红球含13-19-25历史统计



双色球25125期一等奖中奖详情


