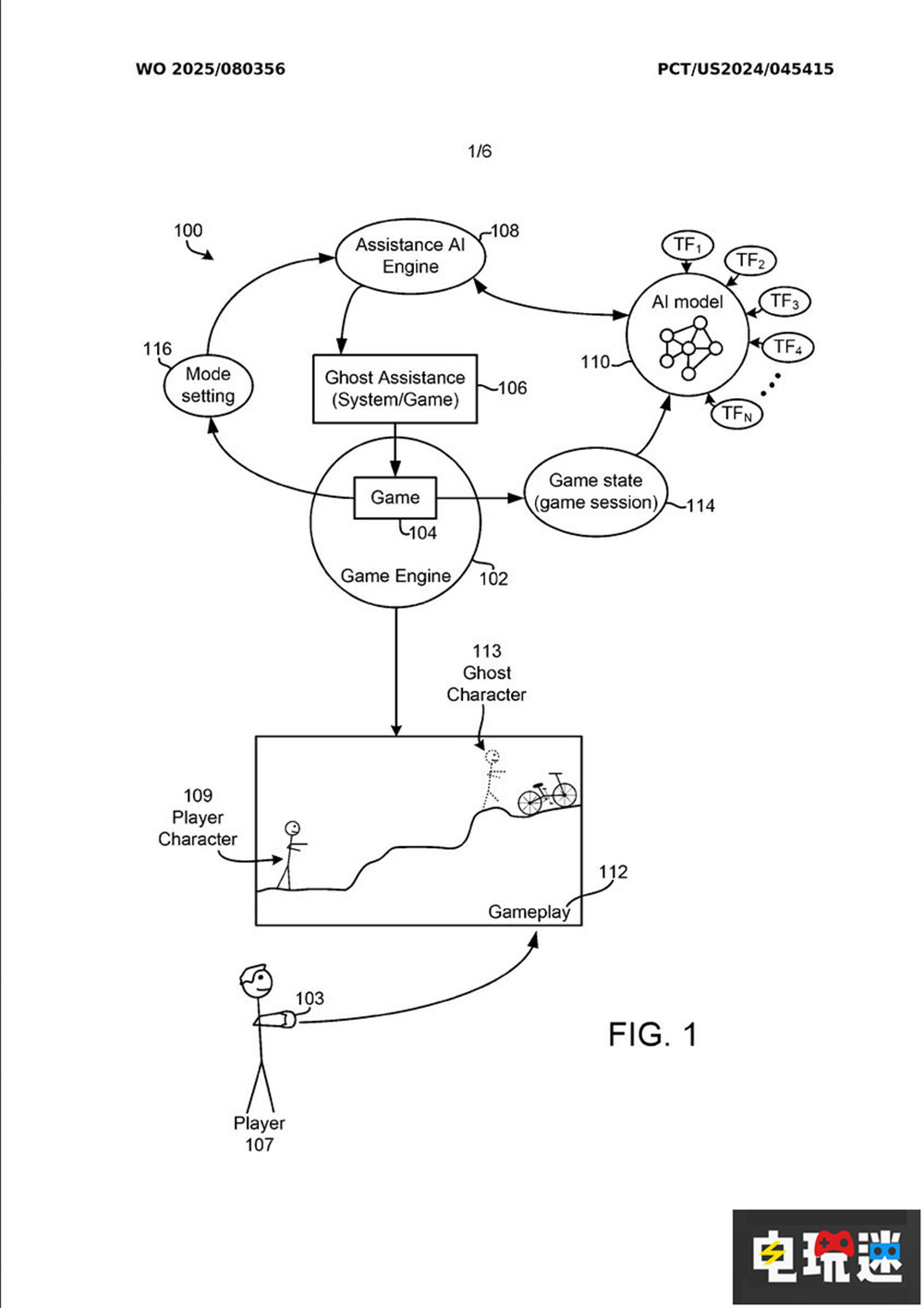
对于很多玩家来说,有些游戏里卡关真的令人懊恼,尤其是那些弱引导的游戏。不过根据WIPO公示的索尼专利提交文件显示,索尼真的计划“教玩家玩游戏”。该专利计划通过AI模型与辅助引擎教玩家如何通过当前游戏关卡与场景。

根据索尼的专利文件显示,玩家在实时游玩游戏的过程中,系统会通过分析游戏状态数据来识别玩家所处的特定场景,随后通过AI模型与辅助AI引擎以“覆盖层”的形式处理该场景,并在其中生成具有动画/控制指令的幽灵角色,指引玩家如何通过该场景。该幽灵角色的行动完全基于玩家的实时行为,而非其他玩家的数据。

这个专利应用场景包括为例如《神秘海域》《战神》等游戏解谜环节提示的“引导模式”(Guide Mode),同时也有直接教导玩家如何以最简单的形式通过当前游戏场景的“完整模式”(Complete Mode)。

通过AI实时生成角色“教玩家玩游戏”的想法,无疑降低了很多玩家接触某些特定游戏的门槛。毕竟有些玩家并不喜欢解密,而有些玩家则是跳台子苦手,这项专利可以让玩家容易接触自己不擅长的游戏。不过相对的“教玩家玩游戏”的设计对于那些想要真正挑战游戏获得成就感与游戏乐趣的玩家来说,就不是什么有用的功能了。
