
文末有双色球红球等差数19-25-31, 16-18-20, 18-19-20的历史统计。【福彩双色球25122期开奖结果及统计】红球号和值129,蓝球13,6注一等奖,奖池28.75亿(2875067397)。
双色球25122期开奖结果及中奖情况:出奖时间: 2025-10-23 星期四 红球: 16-18-19-20-25-31蓝球: 13双色球红球重号叠码:25红球奇偶比:3:3红球和值:129红球跨度:15 三区比:0:4:2连号: 18-19-20


双色球25122期一等奖: 6注二等奖: 151注本期全国销售金额:363694232 元 奖池滚存:2875067397 元.近15期奖池滚存, 中奖情况等信息:

双色球2025122期红号在过去是否出现过?双色球2025122期红号: 16-18-19-20-25-31经查,历史上没有出现过与这一期6个红球或者5个红球号码一样的。与这一期4个红号一样的有15期,如下:


相似号下一期的近10期统计:


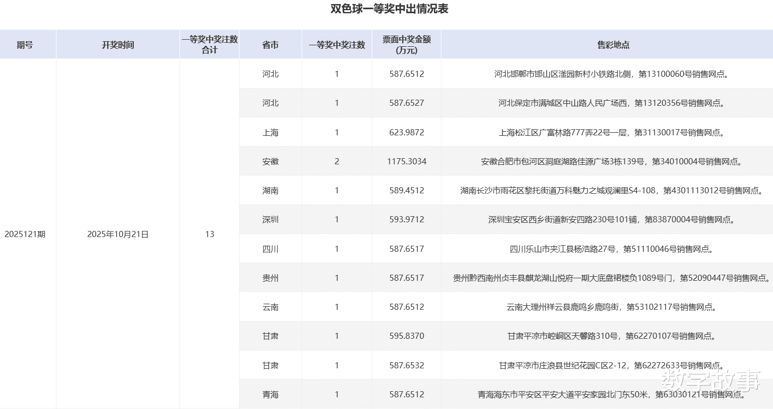
奖池滚存及一等奖数量:

统计近1500期蓝号13之后, 各蓝球的出现次数双色球25122期蓝号是13找出近1500期蓝球13号之后, 下一期出现的所有蓝号,统计其出现次数。,除开这一期,总共出现了75次13号球那么统计的样本数据是75个

=> 双色球近1500期蓝号13之后的冷热号蓝球热号:11,12,7,3,6蓝球冷号:9,2,4,8,10,13
双色球25122期开奖号码 VS 各冷热号
===> 双色球25122期四维度冷热号红球热号:24,19,8,26,17,16,5,31,28,13红球冷号:3,21,23,33,20,25,12,27,30蓝球热号:8,11,7蓝球冷号:6,12,14,4> 命中红球:16-19-31(热号) 20-25(冷号)===> 双色球近200期冷热号红球热号:17,16,2,6,11,3,4,8,9,10,30红球冷号:28,31,21,12,20,23,26,29,1蓝球热号:11,16,15蓝球冷号:9,2,6,8,13> 命中红球:16(热号) 20-31(冷号)> 命中蓝球:13(冷号)===> 双色球近10期冷热号红球热号: 1,2,6,8,10,13,20,24,25,26,32红球冷号: 5,12,14,18,22蓝球热号: 2,10蓝球冷号: 1,4,5,6,12,13,14,15> 命中红球:20-25(热号) 18(冷号)> 命中蓝球:13(冷号)===> 双色球近1500期蓝号8之后的冷热号蓝球热号:6,5,4蓝球冷号:13,14,3,16> 命中蓝球:13(冷号)
博弈心理,挑战概率: 看近期开奖号码,也可看历史数据统计!【双色球25123期多角度冷热号】双色球25123期四维走势图,红蓝号统计及冷热号1) 历史同一天: 10月26日 (共9期)


2) 历史同一期: 每年123期 (共20期)


统计每年123期的样本数据:120个红球 20个蓝球

3) 追溯10期 每月26日:


4) 双色球最近20期:

=> 统计出现概率综合以上4个纬度的号码, 共59期根据出现的次数,分为热号,冷号,其他的为温号。统计样本数据:354个红球 59个蓝球

=> 双色球25123期四维度冷热号红球热号:25,13,28,17,15,11,10,6,2,33红球冷号:23,7,27,12,19,30,4,21,3蓝球热号:16,7,2蓝球冷号:1,12,14,6
双色球近300期红蓝号统计情况统计样本数据: 1800个红球 300个蓝球

=> 双色球近300期冷热号红球热号:17,8,22,10,6,2,20,3,33,25红球冷号:29,28,31,15,24,5,12,13,26蓝球热号:11,16,15,4,3蓝球冷号:9,12,2,7,8
双色球近10期红蓝号统计情况统计样本数据: 60个红球 10个蓝球

=> 双色球近10期冷热号红球热号: 1,2,6,8,10,20,24,25,26,31红球冷号: 5,12,14,22蓝球热号: 10蓝球冷号: 1,4,5,6,12,14,15
多角度蓝球次数汇总

=> 汇总的蓝球冷热号:热号:11,16,3,15,7,5冷号:9,12,1,8,14
【其他历史数据查询统计】双色球历史上的今天2025-10-24 星期五 双色球不开奖每年10月24日出号情况:

奖池滚存&一等奖数 走势图:

双色球历史上的今天2025-10-25 星期六 双色球不开奖每年10月25日出号情况:

奖池滚存&一等奖数 走势图:

双色球每年124期的出奖号


双色球红球含19-25-31历史统计



双色球红球含16-18-20历史统计



双色球红球含18-19-20历史统计



双色球25121期一等奖中奖详情

